ITS国际物流管理软件
常见问题
常见问题解决方案
已预报订单无法拦截,该账户未指定操作仓库
批量取消装箱
使用前请看
操作流程
空海派&FBA操作流程
国际快递操作流程
国际小包操作流程
新手必看
如何给你的客户开户
如何设置分区
如何创建一个尾程派送渠道以及渠道配置
创建物流产品及产品设置
渠道链路维护(绑定物流产品与尾程派送渠道)
仓库作业快捷方式
权限管理
角色管理
用户管理
员工仓库授权
客户管理
客户
额度授信
交货仓设置
余额预警设置
基础管理
仓库物料
号段组
异常类型
地址库
仓库
FBA仓库
供应商
航空公司
船公司
机场
港口
交接地
运单号库
平台产品匹配
客服工单类型
轨迹节点设置
平台轨迹匹配
模板与规则
自定义导出
分区模板
标签模板
黑名单模板
客户面单规则
省州名称匹配
邮编区域匹配
订单校验模板
邮编截取规则
运单号截取规则
小包入库核重设置
自定义订单导入
回邮地址
日志管理
登录日志
操作日志
异常日志
尾程预报日志
尾程面单日志
产品与渠道
尾程派送渠道
物流渠道类型
物流产品
渠道链路
运营管理
出库发运批次
调拨发运批次
干线分单管理
干线主单管理
订单管理
快递快录
快递订单批量导入
FBA录单
FBA订单批量导入
小包录单
小包订单批量导入
仓库作业单据
运单查询
库存包裹查询
容器列表
退回入库批次
退货出库批次
待操作异常单
待弃件异常单
代理换单
包裹全链路查询
仓库作业
入库
到仓登记
单件入库
整票入库
撤销入库
即入即出
打印面单
退回入库
调拨收货
导入入库
容器操作
包裹分拣
装袋/箱
撤销装袋/箱
打印标签
装/箱称重
出库
出库发运
撤销发运
打印交接单
调拨发运
退货出库
异常处理
异常查询
标记异常
异常上架
客服管理
异常单
待处理异常单
已处理异常单
仓库异常单
工单
待分配工单
待答复工单
待回应工单
已关闭工单
我的工单
工单统计
工单评分
批量操作
批量拦截
批量备注
批量修改订单
批量维护轨迹
欠费处理
欠费统计
欠费放行
仓库运单
重量核对
理赔管理
登录客户端
报价管理
渠道燃油
基础报价
客户等级报价
客户专属报价
客户即期报价
供应商报价
供应商报价试算
客户报价试算
API费用加收
结算基础信息
汇率
银行账号
币种管理
费用项管理
供应商费用项对应
应收对账导出设置
计费管理
应收计费单
应付计费单
应收重量核对
应收管理
充值单
其他应收
预收款单
应收费用单
应收对账单
应收结算单
实收款单
收款客户余额
应付管理
其他应付
预付款单
应付费用单
应付对账单
应付结算单
实付款单
付款账户余额
统计报表
毛利统计
仓内作业监控
预报资料导出
干线主单毛利统计
到仓登记统计
入库统计报表
出库统计
客户发货量统计
历史工单统计
系统设置
LOGO设置
其他说明
Fedex API对接流程
门户网站对接查价+查件+登录
巴西邮政对接说明
UPS 对接说明
巴西发票对接
推送轨迹到深圳邮政
敦煌平台合作文档
流程说明
退货出库流程
成本管理
成本单
成本费用审核
成本对账单
成本结算单
分摊明细
轨迹管理.
运单轨迹查询
轨迹跟踪
从Track718抓取轨迹
Y2设置流程说明
店小秘Y2
妙手Y2
聚水潭Y2
精致ERP
本文档使用 MrDoc 发布
-
+
首页
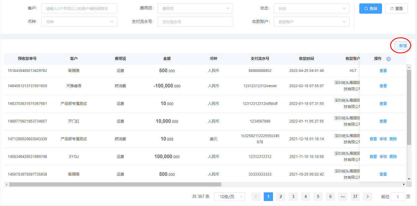
预收款单
## 简介:客户预收收款列表管理 【应收管理-预收款单】,点击【新增】按钮,红色*必填,点击【确定】后审核,预收收款单生成,预收款金额正式入账到客户余额,可在【应收管理-收款账户余额】中查看可以余额     收款客户余额查看助手:http://doc.goto56.com/project-9/doc-208/
zhangjj
2022年4月25日 19:20
转发文档
收藏文档
上一篇
下一篇
手机扫码
复制链接
手机扫一扫转发分享
复制链接
关于 MrDoc
觅思文档MrDoc
是
州的先生
开发并开源的在线文档系统,其适合作为个人和小型团队的云笔记、文档和知识库管理工具。
如果觅思文档给你或你的团队带来了帮助,欢迎对作者进行一些打赏捐助,这将有力支持作者持续投入精力更新和维护觅思文档,感谢你的捐助!
>>>捐助鸣谢列表
微信
支付宝
QQ
PayPal
Markdown文件
分享
链接
类型
密码
更新密码